Блогер и изобретатель Алтай Айнабек, более известный как «Человек дождя», обещает очистить Алматы от смога до весны 2025 года, используя своё собственное изобретение. Ранее он стал знаменит из-за идеи наполнить Аральское море дождевой водой с помощью своих технологий. Теперь Айнабек открыл фонд, куда собирает деньги на реализацию своих проектов. Отдел расследований CMN.KZ выяснил, насколько его амбициозные обещания реальны, поговорил с Айнабеком, экспертами из академии наук и представителями Министерства экологии
Казахский Тони Старк, продавец дождя или шаман: кто вы, мистер Айнабек?
Имя Алтая Айнабека стало широко известно летом 2024 года, когда он предложил проект — восстановить Аральское море, заполнив его дождевой водой. Эта идея, звучащая как научная фантастика, сразу привлекла внимание общественности. Пользователи активно поддерживали инициативу, но не было ясно, на какие научные данные он опирается.
В открытых источниках мало что известно о научной деятельности и образовании Айнабека. При этом он очень активен в социальных сетях. Сейчас на его странице в Instagram почти 200 тысяч подписчиков, а пользователи уже прозвали его казахским Тони Старком и Илоном Маском.

С 2022 года Айнабек занимает пост главы компании International Center of Climate Change Technologies (ICCCT). По данным официального сайта, офис компании находится в Абу-Даби, ОАЭ. Основное направление деятельности ICCCT — восстановление экосистем. Среди задач компании заявлено решение проблем, связанных с сокращением осадков и высоким уровнем загрязнения воздуха.
В графе «Команда» на сайте компании числятся семь сотрудников. Айнабек же указан как главный исполнительный директор.

О большинстве других его коллег практически ничего неизвестно. Кроме Сергея Бологурова, который числится в компании в качестве Начальника отдела системы управления погодой.
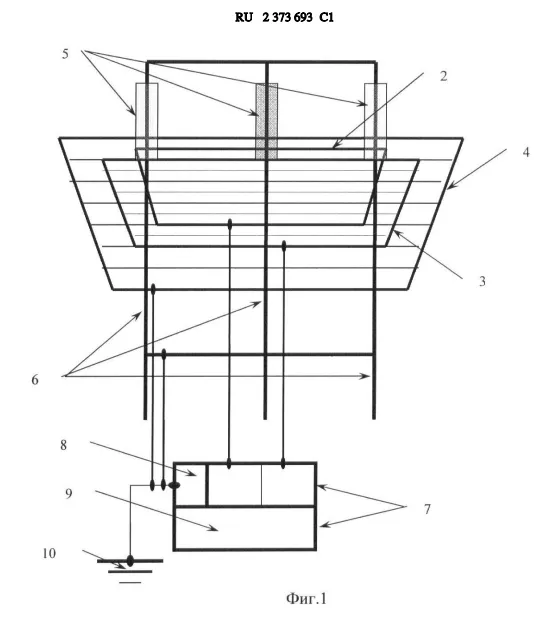
Также Бологуров — соавтор патента Айнабека в Евразийской патентной организации. Их изобретение носит название «Способ снижения климатических рисков, связанных с погодными аномалиями, и система его осуществления».


Интересно, что при поиске имени Сергея Бологурова можно найти ещё один запатентованный проект, но уже в российской Федеральной службе по интеллектуальной собственности.



Фото 2 «Smog remover» в Алматы / Источник: Instagram аккаунт @altay_rainman
Авторами изобретения считаются Бологуров и некий Роман Родкин. Патент они получили в 2008 году. Изобретение представляет собой метод воздействия на атмосферу с помощью ионизаторов, которые создают поток ионов в определённой области.Схема проекта напоминает нынешнее изобретение Айнабека с Бологуровым, которое они активно демонстрируют в социальных сетях.
Алматы смог, а Алтай Айнабек сможет?
27 ноября Алтай Айнабек заявил, что избавит Алматы от смога с помощью своего устройства к апрелю 2025 года.
В разговоре с корреспондентом CMN.KZ он описал способ действия своего изобретения в режиме «Smog remover».

По его словам, над Алматы стоит покров тёплого воздуха, это инверсионный слой, который покрывает город и создаёт смог. Изобретение Айнабека же направлено на нарушение этого слоя и на создание горизонтального движения воздуха.


«Поток ионизированных частиц, вырабатываемых нашими установками, пробивает инверсионную крышку и выводит вредные соединения, которые помогают смогу рассеяться. Такой метод в Казахстане ещё не применяли. Это ноу-хау. Для мониторинга и исследования этого проекта мы создаём коалицию с учёными. Наша цель — внедрить проект и в другие города Казахстана», — говорит он.
В Алматы уже установили пять установок, и до апреля Алтай Айнабек планирует увеличить их количество до 25. По его мнению, это сможет на 100% избавить южную столицу от насущной проблемы.
Некоторые горожане уже замечают изменения и делятся фотографиями чистого алматинского неба в социальных сетях, выражая благодарность Алтаю Айнабеку.



Насколько изобретение Человека Дождя безопасно?
Стоит отметить, что не все казахстанцы поддерживают деятельность Алтая Айнабека. Некоторые скептически относятся к его изобретению. В ответ своим хейтерам, он 7 декабря опубликовал видео, где заявляет, что его ноу-хау работает, и это доказано некой частной лабораторией ТОО «Ренессанс плюс».
По словам изобретателя, за час работы установки улучшили качество воздуха втрое, сократив концентрацию вредных веществ.



CMN.KZ обратилась за комментариями в лабораторию. Там подтвердили, что проводили замеры атмосферного воздуха 27 и 29 ноября по запросу фонда Айнабека. Однако результаты замеров не предоставили, отметив, что двухдневные исследования не могут объективно оценить влияние технологии на атмосферу.
}}«Наши результаты показывают состояние воздуха на указанный период. Двухдневные замеры никак не могут подтвердить или опровергнуть эффективность данных очистных технологий», — заявили они.
В Министерстве экологии корреспонденту редакции CMN.KZ сообщили, что в ведомстве не проверяли воздействие изобретения Алтая Айнабека на окружающую среду.
Значит ли это, что любой желающий может устанавливать сооружения, влияющие на атмосферу? Выходит, что так.
«Экологическим кодексом РК согласование новых технологии не регламентировано. На сегодняшний день Министерство не располагает официальными документами, подтверждающими безопасность технологии Алтая Айнабека», — заявили в Минэкологии.


Айнабек в разговоре с корреспондентом CMN.KZ заявил, что его изобретение имеет одобрения от Департаментов санитарно-эпидемиологического контроля и ЧС.
«Есть подтверждение, что в местах работы технологии не было зафиксировано отклонений. Также есть заключение бельгийской лаборатории DeNayer», — заявил он.
Однако на запрос предоставить эти документы он прислал информацию, касающуюся испытаний технологии в Мангистауской области в 2022 году.

В тот период устройства использовались для увеличения осадков в регионе. Согласно данным Казгидромета, прилагаемой к описанию изобретения на сайте Евразийского патента, количество осадков действительно выросло в марте и мае, но в апреле осталось на прежнем уровне.
-blocks/slider {"id":"wp-block-themeisle-blocks-slider-99e6ea16"} -blocks/sliderОднако ни один из представленных документов не касался влияния технологии на качество воздуха, а отвечал на вопрос безопасности осадков, вызванных в регионе.

В алматинском Департаменте санитарно-эпидемиологического контроля отметили, что Айнабек не обращался к ним за консультациями по использованию устройств.
Секретные технологии, требующие от 3 до 7 млн долларов инвестиций
Несмотря на вышесказанное, подведомственная организация Министерства экологии — НАО «Международный центр зелёных технологий и инвестиционных проектов» — ещё в марте 2024 года включила изобретение Айнабека в Реестр зелёных технологий.
}}Согласно карточке проекта, для реализации изобретения требуется от трёх до семи млн долларов в зависимости от зоны покрытия и необходимого количества установок.

Если численность населения в регионе до одного млн человек, ежегодная сумма инвестиций должна составить три млн долларов. Для регионов с населением свыше 1 миллиона — от пяти до семи млн долларов в год.
«Сокращение уровня загрязнения воздуха в Казахстане на 1 миллиграмм на 1м3 приведёт к ежегодной экономии в размере 57 млн долларов», — уточняется в проекте.
Неизвестно, получил ли Айнабек сейчас необходимое финансирование. В своих публикациях в социальных сетях он утверждает, что большинство расходов на свои проекты покрывает самостоятельно.

В сентябре 2024 года он создал фонд, в который казахстанцы активно отправляют деньги. При этом, по его словам, этих денег не хватает даже на покрытие командировочных расходов, а от государственных органов предложений о поддержке ему не поступало.



Однако интерес у госорганов к его изобретению, похоже, есть. 19 декабря Айнабек встретился с представителями Национальной академии наук, о чём сообщил в своём Instagram. Детали встречи он не раскрыл.
Редакция CMN.KZ обратилась к представителю академии Куантару Алиханову, чтобы уточнить обсуждаемые вопросы. По словам Алиханова, в ходе двухчасовой встречи Айнабек не смог предоставить научные доказательства своей разработки. Изобретатель заявил, что технология является секретной.

«Айнабек вправе не разглашать некоторые аспекты своей работы, так как у него есть патент. Однако академия готова поддержать его только при наличии научной базы. У него нет учёной степени, публикаций или исследований, что является необходимым условием для получения государственного гранта. Он изобретатель, а не учёный. Мы посоветовали ему работать совместно с казахстанскими и зарубежными учёными и подать заявку на грант от Министерства науки и высшего образования», — рассказал Алиханов.
Получит ли Айнабек грант и сможет ли доказать научную состоятельность своего изобретения, покажет время.
Человек дождя: смог ли Алтай Айнабек вернуть Арал?
Алтай Айнабек прежде был известен проектом по возвращению Аральского моря. В мае 2024 года он заявил, что его технологии способны вызывать дожди в районе Арала и пополнять море дождевой водой.


Принцип действия его технологии в Арале примерно такой же, как и в Алматы, — отправить в атмосферу поток отрицательно заряженных ионов. В Алматы они разрушали инверсионный слой и рассеивали смог, а на Арале должны были способствовать движению дождевых облаков к морю. Айнабек утверждал, что, благодаря его вмешательству, в регионе выпало больше осадков, чем обычно.

Но так ли это? В Казгидромет на запрос CMN.KZ рассказали, что Всемирная метеорологическая организация (ВМО), не рассматривает ионизацию как научно обоснованный и надёжный метод для увеличения количества осадков.
«Экспертная группа ВМО по научным исследованиям в области активных воздействий на погоду пришла к выводу, что гипотетические механизмы воздействия ионизации не подтверждены ни наблюдениями, ни численным моделированием на уровне территорий. Альтернативные технологии, включая ионизацию, не имеют научного подтверждения, демонстрирующего их эффективность», — ответили в РГП «Казгидромет».
Там также отметили, что, по данным казахстанских учёных, в большинстве регионов страны потенциал облачности для увеличения осадков ограничен.
}}«Согласно исследованию Александра Чередниченко, "Изменение климата Казахстана и возможности адаптации за счёт доступных водозапасов облачности", существенные запасы водоносной облачности наблюдаются только в северных регионах страны».
Кроме того, в Казгидромет сообщили, что количество осадков в 2024 году не превысило рекордных значений прошлых лет.
«За три летних месяца (июнь, июль, август) сумма осадков варьировалась от 0 до 32 мм. Анализ данных за последние 10 лет (2014-2023 гг.) показал, что сумма осадков в регионе варьирует от 0,8 мм до 33,5 мм», — пояснили в ведомстве.

Таблица 2: Наибольшее месячное количество осадков за период 2014-2023 гг., мм, / Источник: РГП «Казгидромет».
Стоит отметить, что Арал всё же пополнился водой. В октябре Министерство водных ресурсов сообщило, что приток воды в море увеличился втрое. Однако причиной этого явления специалисты назвали не технологию Айнабека, а использование аграриями водосберегающих технологий и подачу дополнительных 200 млн кубометров воды.
В сентябре Айнабек по неясным причинам временно приостановил проект Арала. Изначально, он утверждал, что планирует возобновить его в январе 2025 года с расширенными технологическими возможностями. Однако недавно в одном из видео он сказал, что продолжит проект только в случае поддержки от президента Касым-Жомарта Токаева.

Будет ли глава государства и другие госоорганы поддерживать инициативу, пока не ясно. CMN.KZ будет следить за развитием событий.
Подписывайтесь на официальный Telegram-канал CMN.KZ


